Flexiheat UKLow height buffer tanks – 2,000 to 5,000 Litres

Buffer tanks or vessels with low height from Flexiheat UK
Low height buffer tanks or vessels are mainly about solving space and hydraulic layout problems without losing the core benefits of a buffer vessel.
The main advantages are the following:
They fit where standard height buffer tanks will not
That is the largest one. In plant rooms with low ceilings, loft spaces, or retrofit jobs, a squat buffer can be installed where a tall buffer simply cannot be. There is no standard floor-to-floor/storey height in commercial or industrial buildings; however, most data suggest that they are between 3.6 and 4.0 metres in height. Our tanks can comfortably fit within this height and allow easy and straightforward installation of the associated pipework and fittings.
They are easier to get into the building
A low height tank is often easier to move through doorways, around corners, and into basements or tight risers than a tall, awkward buffer tank.
They work well in retrofit plant rooms
When replacing older boilers or adding a heat pump, there is often limited vertical space because of existing pipework, flues, cable trays, or services above. A low height tank gives more freedom.
They can make pipework layout cleaner and easier
In some jobs, especially where headers and pumps are mounted at a low level, a horizontal or squat arrangement can reduce awkward vertical runs and help keep the cooling or heating system pipework compact.
They still provide the usual buffer-tank benefits
Even in a low height format, they can still:
- Add system water volume for air source heat pumps, ground source heat pumps, biomass boilers or even chillers.
- Reduce short cycling of the heat pump system, chiller system or boiler system.
- Improve heat pump or boiler run times
- Help hydraulic separation for the heating system where it’s designed for it
- Improve defrost support on air source heat pump systems
- Stabilize flow in mixed circuits
They can help with service access above the vessel
A tall buffer tank can leave no room for top connections, air vents, or insulation clearance. A low tank can free up working space overhead.
That said, there are trade-offs.
A low-height buffer tank may have the following:
- A larger floor footprint
- Sightly less effective temperature stratification than a taller vessel
- More difficulty in very tight floor-level spaces if the floor area is limited
So in practice, the advantage is usually installation practicality first, then system performance benefits second.
For heating engineers, the usual reason to choose one is the following:
“I need buffer volume, but I do not have the headroom for a standard vertical buffer tank or vessel.”
Low height buffer vessel/tank product range options
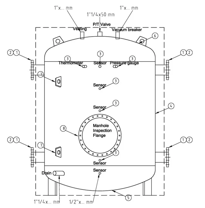
All this range of buffer tanks come with 5 x ½” tappings or ports for temperature sensors or other sensors in the vertical plane up the tank. They also have a 2 x ½” tapping’s for a pressure gauge and thermometer gauge and a 1 ¼” drain point at the bottom of the tank. Finally, on the top area of the buffer, they have a 1 ¼” port for a pressure relief safety valve, a 1” port for an automatic air vent and a 1” port for an anti-vacuum valve to be installed.
They also benefit from a 480 mm (400 mm effective opening) inspection or clean out flange for easy maintenance and inspection of the buffer tank, as well as lifting eyes on the top and on the side of the tank.

Low-height buffer vessels or tanks from 2,000 to 5,000 litres
Overall dimensions of the range

Buffer tank or vessel with low height dimensions table from Flexiheat UK
Firstly, our heating hot water only buffer tanks from 2,000 to 5,000 litre capacity – the 2,000 to 3,000 litre storage buffer tanks have 100 mm (4″) PN6 flanged inlet and outlets connections, whilst the 4,000 and 5,000 litre storage buffer tanks have 150 mm (6″) PN6 flanged inlet and outlets connections.
| Code | Product description – Heating only |
| FHPSLH2000-H | 2000 Litre PS LH Carbon steel buffer tank – 4 x 4″ PN6 flanged connections, 5 temp sensors & 480/400mm inspection port / flange |
| FHPSLH2500-H | 2500 Litre PS LH Carbon steel buffer tank – 4 x 4″ PN6 flanged connections, 5 temp sensors & 480/400mm inspection port / flange |
| FHPSLH3000-H | 3000 Litre PS LH Carbon steel buffer tank – 4 x 4″ PN6 flanged connections, 5 temp sensors & 480/400mm inspection port / flange |
| FHPSLH4000-H | 4000 Litre PS LH Carbon steel buffer tank – 4 x 6″ PN6 flanged connections, 5 temp sensors & 480/400mm inspection port / flange |
| FHPSLH5000-H | 5000 Litre PS LH Carbon steel buffer tank – 4 x 6″ PN6 flanged connections, 5 temp sensors & 480/400mm inspection port / flange |
Chilled and/or heating system buffer tank option
| Code | Heating and Chilled or just Chilled only – 80 mm polyester fibre with 20mm Armaflex |
| FHPSLH2000HC | 2000 Ltr PS LH Carbon steel buffer tank – 4 x 4″ PN6 flanged connections, 5 temp sensors & 480/400mm inspection port/flange |
| FHPSLH2500HC | 2500 Ltr PS LH Carbon steel buffer tank – 4 x 4″ PN6 flanged connections, 5 temp sensors & 480/400mm inspection port/flange |
| FHPSLH3000HC | 3000 Ltr PS LH Carbon steel buffer tank – 4 x 4″ PN6 flanged connections, 5 temp sensors & 480/400mm inspection port / flange |
| FHPSLH4000HC | 4000 Ltr PS LH Carbon steel buffer tank – 4 x 6″ PN6 flanged connections, 5 temp sensors & 480/400mm inspection port / flange |
| FHPSLH5000HC | 5000 Ltr PS LH Carbon steel buffer tank – 4 x 6″ PN6 flanged connections, 5 temp sensors & 480/400mm inspection port / flange |
Download
Buffer vessel insulation
Heating buffer option – usually used on air source heat pumps but also biomass boilers
The 100mm polyester-fibre thermal insulation, a highly efficient insulation, ensures a high capacity for heat conservation and minimises temperature fluctuations in the water within the tank, which leads to fewer start-ups of the connected heat sources (usually heat pump systems – air source heat pumps or ground source heat pump systems – but also suitable biomass heating systems), resulting in significant benefits regarding operating expenses and extending their lifespan.
Chilled water and heating option
The chilled water and heating option has anti condensation insulation, with 20 mm Armaflex and 80 mm polyester fibre, giving a total of 100 mm insulation in total.
Domestic hot water option
We can manufacture these buffer tanks in 316 stainless steel for domestic hot water storage applications, on request.
Contact Flexiheat UK
For more detailed information, stock availability, delivery times, price or to order our low height buffer tank range, the perfect solution for height-restricted areas in commercial buildings with cooling or heating systems that require a buffer tank for air source heat pumps,biomass boiler heat sources or chilled water systems.
Please contact our sales team at 01202 822221 or use our website’s email contact form to discuss your requirements.

Flexiheat UK
Flexiheat UK